Oleh :
Sketsa Buatan Mazda
SoundandMachine.com (Tokyo) - Buat kawan SoundandMachine para pecinta mobil Japan Domestic Market (JDM) pasti kenal dengan mesin rotary buatan Mazda yang sangat melegenda. Sebab, dapur pacu berperforma tinggi tersebut, digunakan oleh model sports car unggulan Mazda, semisal RX-7 maupun RX-8.
Mesin wankel atau disebut juga mesin rotary adalah mesin pembakaran dalam yang digerakkan oleh tekanan yang dihasilkan oleh pembakaran diubah menjadi gerakan berputar pada rotor yang menggerakkan sumbu. Mesin ini dikembangkan oleh insinyur Jerman Felix Wankel.
Baca Juga:
IIMS 2026: Mazda Luncurkan Product Update CX-60. Ini Ubahannya
Sayangnya, mesin tersebut tak lagi digunakan untuk mobil Mazda keluaran terbaru. Seperti yang diketahui, Mazda telah berhenti membuat kendaraan dengan mesin rotary selama sekitar satu dekade. Model terakhir yang menggunakan mesin tersebut adalah RX-8.

Baca Juga:
Mazda Gelar Banyak Promo Akhir Tahun 2025, ini Sederet Benefitnya
Sejak saat itu, rumor tentang penerusnya terus bermunculan. Setiap kali rumor itu muncul, perwakilan dari perusahaan Jepang menjelaskan bahwa itu tidak dapat dilakukan untuk saat ini.
Padahal, mesin wankel memiliki beberapa keunggulan dibanding mesin piston, baik dari segi konstruksi yang lebih ringkas, ringan, dan menghasilkan tenaga yang lebih besar dengan ukuran kubikasi yang sama bahkan lebih kecil dari mesin piston.
Baca Juga:
Fokus Pada Pengalaman Berkendara, Mazda Hadir di GJAW 2025
Sayangnya, salah satu kendala yang dihadapi mesin wankel adalah masalah kadar emisi yang cukup tinggi, efisiensi penggunaan bahan bakar, dan masalah proses pembakaran yang kurang sempurna khususnya pada putaran tinggi. Tak pelak Mazda memutuskan untuk menghentikan produksi mesin tersebut.
Namun kini, buat para pecinta mesin rotary, ada kabar baik nih dari Mazda. Sebab, produsen mobil asal Jepang tersebut telah mengajukan paten untuk sasis mobil sport berpenggerak belakang, serta mesin anyar.
Seperti dikutip dari Hatena Blog, pabrikan yang berbasis di Hiroshima ini telah mengajukan paten ini tidak hanya di Jepang, tetapi juga di Eropa dengan European Patent Office (EPO), yang akan ditujukan untuk "kendaraan hybrid yang menggunakan mesin rotary".

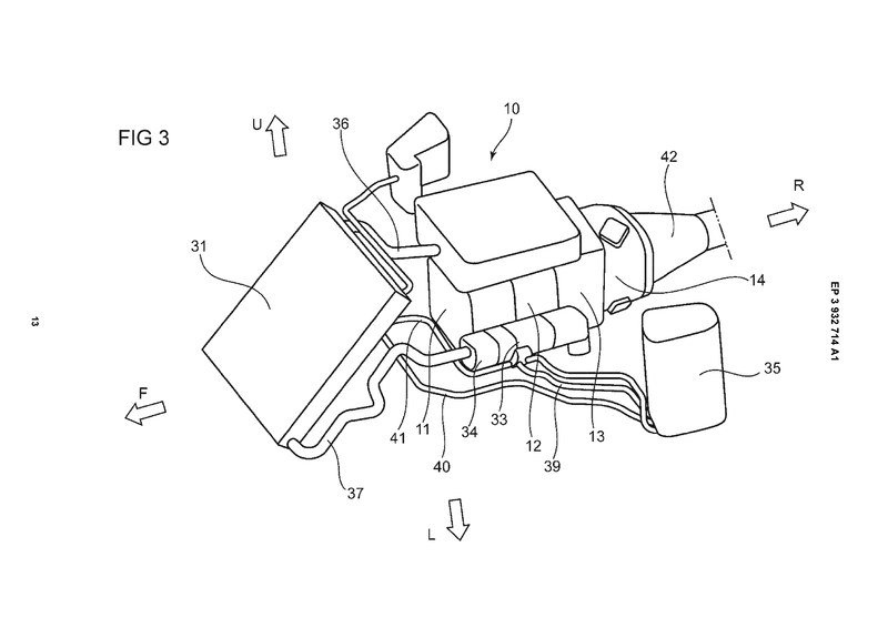
Dalam potongan sketsa gambar yang beredar luas di internet, terlihat gambar mesin dengan tiga port, satu di setiap casing vertikal yang diprediksi untuk busi. Bila dilihat dari tata letaknya, jelas gambar ini menunjukkan mesin rotari tiga rotor.
Meski begitu, Mazda belum mengkonfirmasi kabar tersebut. Dari gambar sketsa, menunjukkan bahwa gearbox akan menjadi unit transaxle, dengan elektrifikasi hibrida dengan motor yang dipasang tepat di belakang mesin tiga rotor.
Motor listrik ini bisa saja menjadi bentuk dari elektrifikasi hybrid ringan 48 volt, yang diperlihatkan Mazda dalam presentasi pada November 2020. Benar kah mesin rotary akan kembali? Kita tunggu saja ya! (EPS)